2022年4月14日星期四

夏季必备!空调清洁罩专利侵权分析

*文末扫码添加侵权哥好友并备注"加群"即可加入卖家交流群*

过完清明等五一,夏天已悄悄来临。空调作为夏天必不可少的家用电器,其清洁用具想必有一定的市场。今天分享一款空调清洁罩,产品本身其实就是一个塑料薄膜,居然也注册了发明专利!

Cassette Shield 维护袋可在几秒钟内安装,让您轻松清洁高达 60,000btu (17.6kW) 的卡式和风机盘管空调。它由工业级材料制成,旨在供暖通空调专业人员多次重复使用。搭配 Turbo Tank 便携式空调清洗机,可以快速、轻松、有效地进行小型分体式维护。

专利情况

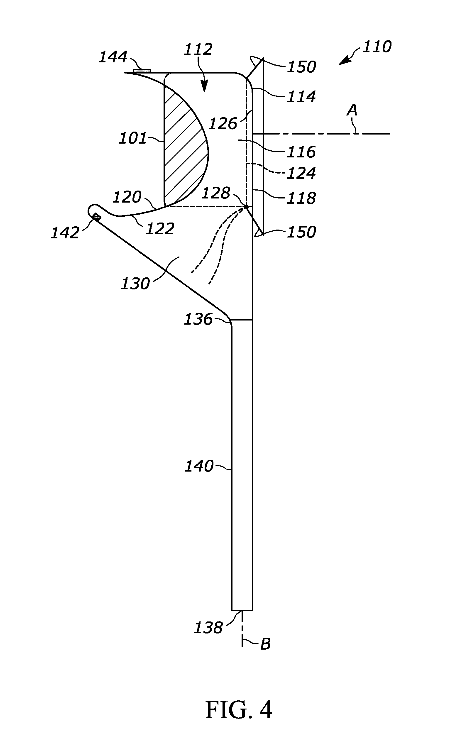
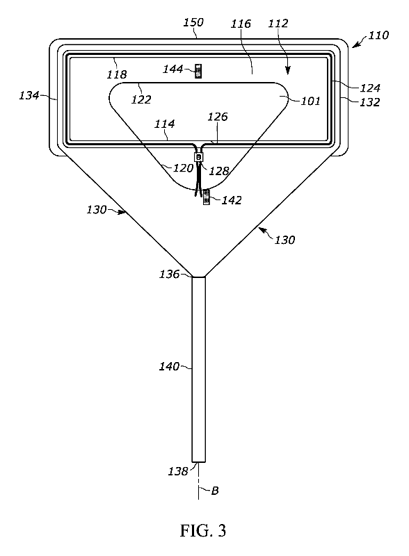
US10982915B2 便于从壁挂式器具收集流体的装置和方法

本公开涉及可以与壁挂式器具的维护和/或清洁结合使用的设备和方法

罩部分还包括由柔韧材料(例如,聚乙烯或类似材料)的网状物(例如,一个或多个片材)形成的侧壁,其从远侧开口的周边向外延伸以终止于近侧开口。近端开口具有与远端开口隔开并相对的周边。

主体部分沿着基本上横向于远侧开口的中心轴线的纵向方向逐渐变细。在.............

原文转载:http://fashion.shaoqun.com/a/875074.html


warm:https://www.ikjzd.com/w/2248
f2c:https://m.ikjzd.com/w/1242
粉丝通:https://www.ikjzd.com/w/743
我的数据:https://m.ikjzd.com/articles/107697
获客成本太高?分享独立站低成本转化翻倍秘籍:https://m.ikjzd.com/articles/157650
​亚马逊listing文案这样写,排名更靠前!——你的listing文案写对了吗?:https://m.ikjzd.com/articles/157643
在日本站销售LED灯具要必须遵守哪些当地法律来符合亚马逊政策的要求?:https://m.ikjzd.com/hegui/article/157649

没有评论:

发表评论