2022年3月9日星期三

美国站爆款蜂鸟喂食器 专利侵权风险需注意

这款产品是一位卖家找我咨询的,说是美国站卖的比较好,卖家自己经过一番查询没有找到专利,但还是想找侵权哥确认一遍。

卖家自己查了外观专利没有查到,所以我们直接从发明专利入手,果然有所发现。

专利情况

US2011073043 A1 喂鸟器:本发明提供了一种灵活的指状物,以允许在单个机库上设置多个喂食器位置,并且可以使用紧固装置来支撑蚂蚁壕并在强风条件下在喂食器碗下方提供额外的支撑。

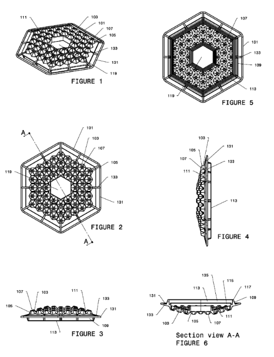
图1-6示出了本发明的蜂鸟喂食器100的盖构件101的等距视图。示出了盖构件101可以包括顶面111,该顶面111可以包括向上延伸的小面构件103以收集诸如阳光的光并且反射和折射光以便将蜂鸟或其他类型的鸟吸引到喂食器100。向上延伸的小面构件103可以包括向内倾斜的壁105,其数量可以是4、6、8个并且可以包括中心孔107让鸟儿接触到花蜜或鸟食。图1另外示出了中心孔119,其可以是六面或其他数量的面以便连接到中心极。盖构件101还可以包括栖息构件131 ,其围绕盖构件101的周边延伸以提供用于鸟类休息的杆或轨道,并且通过支撑构件133以与侧表面109间隔开的关系定位,支撑构件133可以是支撑支撑构件131的臂。

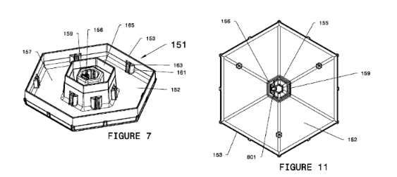
图12示出了本发明的喂鸟器101的基座构件151 ,并且可以包括外壁153,外壁153可以从底部152围绕基座构件151的周边向上延伸并且与内肋构件115配合和锁定,并且通道135中的外肋构件117。外壁153的内表面可以包括连接构件161,该连接构件161可以包括基本上竖直的凹槽163以定位分隔构件。

.............

原文转载:http://fashion.shaoqun.com/a/814330.html


real:https://www.ikjzd.com/w/1476
giveaway:https://www.ikjzd.com/w/2260
terapeak:https://www.ikjzd.com/w/556
思亿欧:https://m.ikjzd.com/w/1324
亚马逊错收高昂费用,这次却主动承认了错误,并退还多收的费用!:https://m.ikjzd.com/articles/155693
亚马逊要迎来"价格春天"了?:https://m.ikjzd.com/articles/155692
快自查!多位卖家收到一笔亚马逊的巨额退款:https://m.ikjzd.com/articles/155696

没有评论:

发表评论